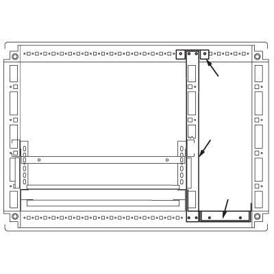
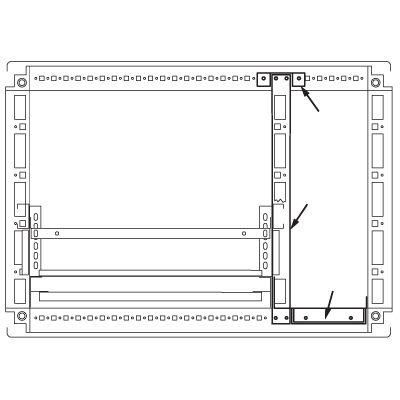
Разделительная перегородка распределительного шкафа
|
Быстрый просмотр
|
"RAM block" – система универсальных металлических корпусов – сварных и сборных, а также стоек управления. Сборные напольные шкафы CQE предназначены для монтажа систем управления, распределения энергии, контроля, а также для организации телекоммуникационных узлов. В ассортимент ДКС входит огромное разнообразие решений – напольные шкафы представлены в 116 типоразамерах. Каркас, панели и крыша шкафа изготавливаются из качественной листовой стали толщиной минимум в 1,5 мм. Монтажная плата выдерживает установку даже тяжелого оборудования – она имеет толщину до 3 мм и П-образную окантовку, усиливающую жесткость конструкции. Шкафы соответствуют всем действующим стандартам, они совместимы с силовым и активным оборудованием ведущих российских и европейских производителей, и позволяют создавать разнообразные решения под любые задачи заказчика. Собранный шкаф имеет высокую степень пыле- и влагозащиты – IP 55. Он подходит для применения в климатических условиях УХЛ1 по ГОСТ 15150. Дополнительные ребра жесткости обеспечивают конструкции несущую способность стоек до 1000 кг (у собранного шкафа) и высокую прочность. Внутренние монтажные элементы имеют шаг перфорации 25 мм. Это универсальное расстояние, оно позволяет быстро модифицировать конструкцию шкафа. Полки и консоли используются для размещения оборудования. Габариты фиксированной полки: глубина 800 мм, ширина - 1000 мм. Максимальная нагрузка - 60 кг. Материал - сталь толщиной 1,5 мм.
Характеристики
|
19 821 ₽/шт
-
+
В корзину
| ||
|
Быстрый просмотр
|
"RAM block" – система универсальных металлических корпусов – сварных и сборных, а также стоек управления. Сборные напольные шкафы CQE предназначены для монтажа систем управления, распределения энергии, контроля, а также для организации телекоммуникационных узлов. В ассортимент ДКС входит огромное разнообразие решений – напольные шкафы представлены в 116 типоразамерах. Каркас, панели и крыша шкафа изготавливаются из качественной листовой стали толщиной минимум в 1,5 мм. Монтажная плата выдерживает установку даже тяжелого оборудования – она имеет толщину до 3 мм и П-образную окантовку, усиливающую жесткость конструкции. Шкафы соответствуют всем действующим стандартам, они совместимы с силовым и активным оборудованием ведущих российских и европейских производителей, и позволяют создавать разнообразные решения под любые задачи заказчика. Собранный шкаф имеет высокую степень пыле- и влагозащиты – IP 55. Он подходит для применения в климатических условиях УХЛ1 по ГОСТ 15150. Дополнительные ребра жесткости обеспечивают конструкции несущую способность стоек до 1000 кг (у собранного шкафа) и высокую прочность. Внутренние монтажные элементы имеют шаг перфорации 25 мм. Это универсальное расстояние, оно позволяет быстро модифицировать конструкцию шкафа. Полки и консоли используются для размещения оборудования. Максимальная нагрузка на стационарную полку - 60 кг, на выдвижную полку - 30 кг. Габариты выдвижной полки: глубина 400 мм, ширина - 600 мм. Материал - сталь толщиной 1,5 мм.
Характеристики
|
18 448.50 ₽/шт
-
+
В корзину
| ||
|
Быстрый просмотр
|
"RAM block" – система универсальных металлических корпусов – сварных и сборных, а также стоек управления. Во внутреннем пространстве шкафов размещается оборудование для систем автоматизации, мониторинга, управления, релейной защиты. Шкафы надежно предохраняют размещенные внутри устройства от внешних воздействий. Корпуса изготовлены из прочной стали толщиной 1,2 – 1,5 мм. Это позволяет размещать внутри тяжелое оборудование и обеспечивает степень ударопрочности IK 10. Двери выполняются из металла толщиной 1,5 – 2 мм. На внутреннюю сторону двери наносится покрытие из вспененного полиуретана, который повышает качество герметизации. Загиб кромки корпуса предотвращает попадание во внутреннее пространство шкафа влаги и мусора, а производственные отверстия имеют специальные заглушки, благодаря чему достигается степень пыле- и влагозащиты корпуса – IP 65/IP 66. Трехступенчатая автоматизированная система окрашивания обеспечивает корпусам прочное покрытие, устойчивое к сколам и царапинам. Аксессуары позволяют создавать на основе базовых комплектующих сложные индивидуальные решения. Для организации секционирования применяются различные аксессуары, входящие в состав системы - например, вертикальные разделители. Аксессуар отгораживает часть пространства шкафа. Его габариты: 2000х100 мм.
Характеристики
|
2 560.50 ₽/шт
-
+
В корзину
| ||
|
Быстрый просмотр
|
"RAM block" – система универсальных металлических корпусов – сварных и сборных, а также стоек управления. Во внутреннем пространстве шкафов размещается оборудование для систем автоматизации, мониторинга, управления, релейной защиты. Шкафы надежно предохраняют размещенные внутри устройства от внешних воздействий. Корпуса изготовлены из прочной стали толщиной 1,2 – 1,5 мм. Это позволяет размещать внутри тяжелое оборудование и обеспечивает степень ударопрочности IK 10. Двери выполняются из металла толщиной 1,5 – 2 мм. На внутреннюю сторону двери наносится покрытие из вспененного полиуретана, который повышает качество герметизации. Загиб кромки корпуса предотвращает попадание во внутреннее пространство шкафа влаги и мусора, а производственные отверстия имеют специальные заглушки, благодаря чему достигается степень пыле- и влагозащиты корпуса – IP 65/IP 66. Трехступенчатая автоматизированная система окрашивания обеспечивает корпусам прочное покрытие, устойчивое к сколам и царапинам. Аксессуары позволяют создавать на основе базовых комплектующих сложные индивидуальные решения. При организации секционирования компенсаторные панели применяются вместо сплошных накладных панелей в случае, если необходим дополнительный воздухоотвод. При этом уменьшается полезная высота монтажной площади. Панели изготавливаются из стали толщиной 1,5 мм с порошковым покрытием. Степень пыле- и влагозащиты - IP 31. В упаковке две панели. Высота верхней - 300 мм, высота нижней - 100 мм, ширина - 1000 мм.
Характеристики
|
19 673 ₽/шт
-
+
В корзину
| ||
|
Быстрый просмотр
|
Комплект панелей наклад. RAM BLOCK CQE/CQE 800 ДКС R5PCD80 представляет собой набор комплектных деталей сборного напольного распределительного шкафа.
Сборные напольные шкафы "RAM block" изготовлены из листовой стали, окрашены, имеют необходимые сертификаты соответствия и успешно прошли испытания на соответствие российским стандартам качества по степени пыле- и влагозащиты; ударопрочности; стойкости к соленому туману, повышенной влажности, перепадам температуры и др.; воздействию вибрации; возможности применения шкафов в сейсмических зонах; пригодны к эксплуатации на морских объектах и судах.
Комплект включает панели (2 шт.) и монтажные аксессуары к ним.
Применение панелей обязательно при использовании внутренних дверей. Их установкауменьшает полезную высоту монтажной площади на 200 мм.
Характеристики
|
2 362 ₽/шт
-
+
В корзину
| ||
|
Быстрый просмотр
|
"RAM block" – система универсальных металлических корпусов – сварных и сборных, а также стоек управления. Во внутреннем пространстве шкафов размещается оборудование для систем автоматизации, мониторинга, управления, релейной защиты. Шкафы надежно предохраняют размещенные внутри устройства от внешних воздействий. Корпуса изготовлены из прочной стали толщиной 1,2 – 1,5 мм. Это позволяет размещать внутри тяжелое оборудование и обеспечивает степень ударопрочности IK 10. Двери выполняются из металла толщиной 1,5 – 2 мм. На внутреннюю сторону двери наносится покрытие из вспененного полиуретана, который повышает качество герметизации. Загиб кромки корпуса предотвращает попадание во внутреннее пространство шкафа влаги и мусора, а производственные отверстия имеют специальные заглушки, благодаря чему достигается степень пыле- и влагозащиты корпуса – IP 65/IP 66. Трехступенчатая автоматизированная система окрашивания обеспечивает корпусам прочное покрытие, устойчивое к сколам и царапинам. Аксессуары позволяют создавать на основе базовых комплектующих сложные индивидуальные решения. При организации секционирования компенсаторные панели применяются вместо сплошных накладных панелей в случае, если необходим дополнительный воздухоотвод. При этом уменьшается полезная высота монтажной площади. Панели изготавливаются из стали толщиной 1,5 мм с порошковым покрытием. Степень пыле- и влагозащиты - IP 31. В упаковке две панели. Высота верхней - 300 мм, высота нижней - 300 мм, ширина - 1000 мм.
Характеристики
|
24 560 ₽/шт
-
+
В корзину
| ||
|
Быстрый просмотр
|
"RAM block" – система универсальных металлических корпусов – сварных и сборных, а также стоек управления. Во внутреннем пространстве шкафов размещается оборудование для систем автоматизации, мониторинга, управления, релейной защиты. Шкафы надежно предохраняют размещенные внутри устройства от внешних воздействий. Корпуса изготовлены из прочной стали толщиной 1,2 – 1,5 мм. Это позволяет размещать внутри тяжелое оборудование и обеспечивает степень ударопрочности IK 10. Двери выполняются из металла толщиной 1,5 – 2 мм. На внутреннюю сторону двери наносится покрытие из вспененного полиуретана, который повышает качество герметизации. Загиб кромки корпуса предотвращает попадание во внутреннее пространство шкафа влаги и мусора, а производственные отверстия имеют специальные заглушки, благодаря чему достигается степень пыле- и влагозащиты корпуса – IP 65/IP 66. Трехступенчатая автоматизированная система окрашивания обеспечивает корпусам прочное покрытие, устойчивое к сколам и царапинам. Аксессуары позволяют создавать на основе базовых комплектующих сложные индивидуальные решения. Для организации секционирования применяются различные аксессуары, входящие в состав системы - например, горизонтальные разделители. Если разделители монтируются не на всю глубину, используются дополнительные вертикальные стойки. Разделитель применяется со шкафами глубиной 95 мм и шириной 1000 мм.
Характеристики
|
3 127 ₽/шт
-
+
В корзину
| ||
|
Быстрый просмотр
|
"RAM block" – система универсальных металлических корпусов – сварных и сборных, а также стоек управления. Во внутреннем пространстве шкафов размещается оборудование для систем автоматизации, мониторинга, управления, релейной защиты. Шкафы надежно предохраняют размещенные внутри устройства от внешних воздействий. Корпуса изготовлены из прочной стали толщиной 1,2 – 1,5 мм. Это позволяет размещать внутри тяжелое оборудование и обеспечивает степень ударопрочности IK 10. Двери выполняются из металла толщиной 1,5 – 2 мм. На внутреннюю сторону двери наносится покрытие из вспененного полиуретана, который повышает качество герметизации. Загиб кромки корпуса предотвращает попадание во внутреннее пространство шкафа влаги и мусора, а производственные отверстия имеют специальные заглушки, благодаря чему достигается степень пыле- и влагозащиты корпуса – IP 65/IP 66. Трехступенчатая автоматизированная система окрашивания обеспечивает корпусам прочное покрытие, устойчивое к сколам и царапинам. Аксессуары позволяют создавать на основе базовых комплектующих сложные индивидуальные решения. Для организации секционирования применяются различные аксессуары, входящие в состав системы - например, вертикальные разделители. Аксессуар совместим со шкафами 1800х600 мм.
Характеристики
|
6 591 ₽/шт
-
+
В корзину
| ||
|
Быстрый просмотр
|
"RAM block" – система универсальных металлических корпусов – сварных и сборных, а также стоек управления. Во внутреннем пространстве шкафов размещается оборудование для систем автоматизации, мониторинга, управления, релейной защиты. Шкафы надежно предохраняют размещенные внутри устройства от внешних воздействий. Корпуса изготовлены из прочной стали толщиной 1,2 – 1,5 мм. Это позволяет размещать внутри тяжелое оборудование и обеспечивает степень ударопрочности IK 10. Двери выполняются из металла толщиной 1,5 – 2 мм. На внутреннюю сторону двери наносится покрытие из вспененного полиуретана, который повышает качество герметизации. Загиб кромки корпуса предотвращает попадание во внутреннее пространство шкафа влаги и мусора, а производственные отверстия имеют специальные заглушки, благодаря чему достигается степень пыле- и влагозащиты корпуса – IP 65/IP 66. Трехступенчатая автоматизированная система окрашивания обеспечивает корпусам прочное покрытие, устойчивое к сколам и царапинам. Аксессуары позволяют создавать на основе базовых комплектующих сложные индивидуальные решения. Для организации секционирования применяются различные аксессуары, входящие в состав системы - например, горизонтальные разделители. Если разделители монтируются не на всю глубину, используются дополнительные вертикальные стойки. Разделитель применяется со шкафами глубиной 545 мм и шириной 800 мм.
Характеристики
|
4 510 ₽/шт
-
+
В корзину
| ||
|
Быстрый просмотр
|
"RAM block" – система универсальных металлических корпусов – сварных и сборных, а также стоек управления. Во внутреннем пространстве шкафов размещается оборудование для систем автоматизации, мониторинга, управления, релейной защиты. Шкафы надежно предохраняют размещенные внутри устройства от внешних воздействий. Корпуса изготовлены из прочной стали толщиной 1,2 – 1,5 мм. Это позволяет размещать внутри тяжелое оборудование и обеспечивает степень ударопрочности IK 10. Двери выполняются из металла толщиной 1,5 – 2 мм. На внутреннюю сторону двери наносится покрытие из вспененного полиуретана, который повышает качество герметизации. Надстроечные модули используются для ввода в шкаф токоведущих элементов. При этом все боковые панели - съемные, что обеспечивает простой доступ к оборудованию. По умолчанию разделение между шкафом и модулем не предусмотрено, однако, если это необходимо, можно заказать специальную пластину-крышку. Параметры пластины: 1200х600 мм.
Характеристики
|
9 789 ₽/шт
-
+
В корзину
| ||
|
Быстрый просмотр
|
"RAM block" – система универсальных металлических корпусов – сварных и сборных, а также стоек управления. Сборные напольные шкафы CQE предназначены для монтажа систем управления, распределения энергии, контроля, а также для организации телекоммуникационных узлов. В ассортимент ДКС входит огромное разнообразие решений – напольные шкафы представлены в 116 типоразамерах. Каркас, панели и крыша шкафа изготавливаются из качественной листовой стали толщиной минимум в 1,5 мм. Монтажная плата выдерживает установку даже тяжелого оборудования – она имеет толщину до 3 мм и П-образную окантовку, усиливающую жесткость конструкции. Шкафы соответствуют всем действующим стандартам, они совместимы с силовым и активным оборудованием ведущих российских и европейских производителей, и позволяют создавать разнообразные решения под любые задачи заказчика. Собранный шкаф имеет высокую степень пыле- и влагозащиты – IP 55. Он подходит для применения в климатических условиях УХЛ1 по ГОСТ 15150. Дополнительные ребра жесткости обеспечивают конструкции несущую способность стоек до 1000 кг (у собранного шкафа) и высокую прочность. Внутренние монтажные элементы имеют шаг перфорации 25 мм. Это универсальное расстояние, оно позволяет быстро модифицировать конструкцию шкафа. Полки и консоли используются для размещения оборудования. Максимальная нагрузка на стационарную полку - 60 кг, на выдвижную полку - 30 кг. Габариты выдвижной полки: глубина 500 мм, ширина - 600 мм. Материал - сталь толщиной 1,5 мм.
Характеристики
|
19 625 ₽/шт
-
+
В корзину
| ||
|
Быстрый просмотр
|
"RAM block" – система универсальных металлических корпусов – сварных и сборных, а также стоек управления. Во внутреннем пространстве шкафов размещается оборудование для систем автоматизации, мониторинга, управления, релейной защиты. Шкафы надежно предохраняют размещенные внутри устройства от внешних воздействий. Корпуса изготовлены из прочной стали толщиной 1,2 – 1,5 мм. Это позволяет размещать внутри тяжелое оборудование и обеспечивает степень ударопрочности IK 10. Двери выполняются из металла толщиной 1,5 – 2 мм. На внутреннюю сторону двери наносится покрытие из вспененного полиуретана, который повышает качество герметизации. Загиб кромки корпуса предотвращает попадание во внутреннее пространство шкафа влаги и мусора, а производственные отверстия имеют специальные заглушки, благодаря чему достигается степень пыле- и влагозащиты корпуса – IP 65/IP 66. Трехступенчатая автоматизированная система окрашивания обеспечивает корпусам прочное покрытие, устойчивое к сколам и царапинам. Аксессуары позволяют создавать на основе базовых комплектующих сложные индивидуальные решения. Для организации секционирования применяются различные аксессуары, входящие в состав системы. Комплект для создания кабельного отсека применяется для организации кабельного ввода в собранном шкафу DAE или CQE. Высота шкафа - 2000 мм, глубина - 400 мм.
Характеристики
|
32 289 ₽/шт
-
+
В корзину
| ||
|
Быстрый просмотр
|
"RAM block" – система универсальных металлических корпусов – сварных и сборных, а также стоек управления. Сборные напольные шкафы CQE предназначены для монтажа систем управления, распределения энергии, контроля, а также для организации телекоммуникационных узлов. В ассортимент ДКС входит огромное разнообразие решений – напольные шкафы представлены в 116 типоразамерах. Каркас, панели и крыша шкафа изготавливаются из качественной листовой стали толщиной минимум в 1,5 мм. Монтажная плата выдерживает установку даже тяжелого оборудования – она имеет толщину до 3 мм и П-образную окантовку, усиливающую жесткость конструкции. Шкафы соответствуют всем действующим стандартам, они совместимы с силовым и активным оборудованием ведущих российских и европейских производителей, и позволяют создавать разнообразные решения под любые задачи заказчика. Собранный шкаф имеет высокую степень пыле- и влагозащиты – IP 55. Он подходит для применения в климатических условиях УХЛ1 по ГОСТ 15150. Дополнительные ребра жесткости обеспечивают конструкции несущую способность стоек до 1000 кг (у собранного шкафа) и высокую прочность. Внутренние монтажные элементы имеют шаг перфорации 25 мм. Это универсальное расстояние, оно позволяет быстро модифицировать конструкцию шкафа. Полки и консоли используются для размещения оборудования. Габариты фиксированной полки: глубина 600 мм, ширина - 1000 мм. Максимальная нагрузка - 60 кг. Материал - сталь толщиной 1,5 мм.
Характеристики
|
11 970 ₽/шт
-
+
В корзину
| ||
|
Быстрый просмотр
|
"RAM block" – система универсальных металлических корпусов – сварных и сборных, а также стоек управления. Во внутреннем пространстве шкафов размещается оборудование для систем автоматизации, мониторинга, управления, релейной защиты. Шкафы надежно предохраняют размещенные внутри устройства от внешних воздействий. Корпуса изготовлены из прочной стали толщиной 1,2 – 1,5 мм. Это позволяет размещать внутри тяжелое оборудование и обеспечивает степень ударопрочности IK 10. Двери выполняются из металла толщиной 1,5 – 2 мм. На внутреннюю сторону двери наносится покрытие из вспененного полиуретана, который повышает качество герметизации. Загиб кромки корпуса предотвращает попадание во внутреннее пространство шкафа влаги и мусора, а производственные отверстия имеют специальные заглушки, благодаря чему достигается степень пыле- и влагозащиты корпуса – IP 65/IP 66. Трехступенчатая автоматизированная система окрашивания обеспечивает корпусам прочное покрытие, устойчивое к сколам и царапинам. Аксессуары позволяют создавать на основе базовых комплектующих сложные индивидуальные решения. Для организации секционирования применяются различные аксессуары, входящие в состав системы - например, вертикальные разделители. Аксессуар совместим со шкафами 2000х400 мм.
Характеристики
|
4 561.50 ₽/шт
-
+
В корзину
| ||
|
Быстрый просмотр
|
"RAM block" – система универсальных металлических корпусов – сварных и сборных, а также стоек управления. Во внутреннем пространстве шкафов размещается оборудование для систем автоматизации, мониторинга, управления, релейной защиты. Шкафы надежно предохраняют размещенные внутри устройства от внешних воздействий. Корпуса изготовлены из прочной стали толщиной 1,2 – 1,5 мм. Это позволяет размещать внутри тяжелое оборудование и обеспечивает степень ударопрочности IK 10. Двери выполняются из металла толщиной 1,5 – 2 мм. На внутреннюю сторону двери наносится покрытие из вспененного полиуретана, который повышает качество герметизации. Загиб кромки корпуса предотвращает попадание во внутреннее пространство шкафа влаги и мусора, а производственные отверстия имеют специальные заглушки, благодаря чему достигается степень пыле- и влагозащиты корпуса – IP 65/IP 66. Трехступенчатая автоматизированная система окрашивания обеспечивает корпусам прочное покрытие, устойчивое к сколам и царапинам. Аксессуары позволяют создавать на основе базовых комплектующих сложные индивидуальные решения. При организации секционирования компенсаторные панели применяются вместо сплошных накладных панелей в случае, если необходим дополнительный воздухоотвод. При этом уменьшается полезная высота монтажной площади. Панели изготавливаются из стали толщиной 1,5 мм с порошковым покрытием. Степень пыле- и влагозащиты - IP 31. В упаковке две панели. Высота верхней - 100 мм, высота нижней - 100 мм, ширина - 400 мм.
Характеристики
|
9 197.50 ₽/шт
-
+
В корзину
| ||
|
Быстрый просмотр
|
"RAM block" – система универсальных металлических корпусов – сварных и сборных, а также стоек управления. Во внутреннем пространстве шкафов размещается оборудование для систем автоматизации, мониторинга, управления, релейной защиты. Шкафы надежно предохраняют размещенные внутри устройства от внешних воздействий. Корпуса изготовлены из прочной стали толщиной 1,2 – 1,5 мм. Это позволяет размещать внутри тяжелое оборудование и обеспечивает степень ударопрочности IK 10. Двери выполняются из металла толщиной 1,5 – 2 мм. На внутреннюю сторону двери наносится покрытие из вспененного полиуретана, который повышает качество герметизации. Загиб кромки корпуса предотвращает попадание во внутреннее пространство шкафа влаги и мусора, а производственные отверстия имеют специальные заглушки, благодаря чему достигается степень пыле- и влагозащиты корпуса – IP 65/IP 66. Трехступенчатая автоматизированная система окрашивания обеспечивает корпусам прочное покрытие, устойчивое к сколам и царапинам. Аксессуары позволяют создавать на основе базовых комплектующих сложные индивидуальные решения. При организации секционирования накладные панели обязательно устанавливаются при использовании внешних дверей. При этом на 200 мм уменьшается полезная высота монтажной площади. Панели изготавливаются из стали толщиной 1,5 мм с порошковым покрытием. В упаковке две панели. Высота панелей - 100 мм, ширина - 800 мм.
Характеристики
|
10 278 ₽/шт
-
+
В корзину
| ||
|
Быстрый просмотр
|
"RAM block" – система универсальных металлических корпусов – сварных и сборных, а также стоек управления. Во внутреннем пространстве шкафов размещается оборудование для систем автоматизации, мониторинга, управления, релейной защиты. Шкафы надежно предохраняют размещенные внутри устройства от внешних воздействий. Корпуса изготовлены из прочной стали толщиной 1,2 – 1,5 мм. Это позволяет размещать внутри тяжелое оборудование и обеспечивает степень ударопрочности IK 10. Двери выполняются из металла толщиной 1,5 – 2 мм. На внутреннюю сторону двери наносится покрытие из вспененного полиуретана, который повышает качество герметизации. Загиб кромки корпуса предотвращает попадание во внутреннее пространство шкафа влаги и мусора, а производственные отверстия имеют специальные заглушки, благодаря чему достигается степень пыле- и влагозащиты корпуса – IP 65/IP 66. Трехступенчатая автоматизированная система окрашивания обеспечивает корпусам прочное покрытие, устойчивое к сколам и царапинам. Аксессуары позволяют создавать на основе базовых комплектующих сложные индивидуальные решения. Для организации секционирования применяются различные аксессуары, входящие в состав системы. Комплект для создания кабельного отсека применяется для организации кабельного ввода в собранном шкафу DAE или CQE. Высота шкафа - 1800 мм, глубина - 500 мм.
Характеристики
|
31 499.50 ₽/шт
-
+
В корзину
| ||
|
Быстрый просмотр
|
"RAM block" – система универсальных металлических корпусов – сварных и сборных, а также стоек управления. Сборные напольные шкафы CQE предназначены для монтажа систем управления, распределения энергии, контроля, а также для организации телекоммуникационных узлов. В ассортимент ДКС входит огромное разнообразие решений – напольные шкафы представлены в 116 типоразамерах. Каркас, панели и крыша шкафа изготавливаются из качественной листовой стали толщиной минимум в 1,5 мм. Монтажная плата выдерживает установку даже тяжелого оборудования – она имеет толщину до 3 мм и П-образную окантовку, усиливающую жесткость конструкции. Шкафы соответствуют всем действующим стандартам, они совместимы с силовым и активным оборудованием ведущих российских и европейских производителей, и позволяют создавать разнообразные решения под любые задачи заказчика. Собранный шкаф имеет высокую степень пыле- и влагозащиты – IP 55. Он подходит для применения в климатических условиях УХЛ1 по ГОСТ 15150. Дополнительные ребра жесткости обеспечивают конструкции несущую способность стоек до 1000 кг (у собранного шкафа) и высокую прочность. Внутренние монтажные элементы имеют шаг перфорации 25 мм. Это универсальное расстояние, оно позволяет быстро модифицировать конструкцию шкафа. Полки и консоли используются для размещения оборудования. Габариты фиксированной полки: глубина 500 мм, ширина - 1000 мм. Максимальная нагрузка - 60 кг. Материал - сталь толщиной 1,5 мм.
Характеристики
|
10 793.50 ₽/шт
-
+
В корзину
| ||
|
Быстрый просмотр
|
"RAM block" – система универсальных металлических корпусов – сварных и сборных, а также стоек управления. Во внутреннем пространстве шкафов размещается оборудование для систем автоматизации, мониторинга, управления, релейной защиты. Шкафы надежно предохраняют размещенные внутри устройства от внешних воздействий. Корпуса изготовлены из прочной стали толщиной 1,2 – 1,5 мм. Это позволяет размещать внутри тяжелое оборудование и обеспечивает степень ударопрочности IK 10. Двери выполняются из металла толщиной 1,5 – 2 мм. На внутреннюю сторону двери наносится покрытие из вспененного полиуретана, который повышает качество герметизации. Загиб кромки корпуса предотвращает попадание во внутреннее пространство шкафа влаги и мусора, а производственные отверстия имеют специальные заглушки, благодаря чему достигается степень пыле- и влагозащиты корпуса – IP 65/IP 66. Трехступенчатая автоматизированная система окрашивания обеспечивает корпусам прочное покрытие, устойчивое к сколам и царапинам. Аксессуары позволяют создавать на основе базовых комплектующих сложные индивидуальные решения. Для организации секционирования применяются различные аксессуары, входящие в состав системы - например, вертикальные разделители. Аксессуар совместим со шкафами 2000х800 мм.
Характеристики
|
12 364.50 ₽/шт
-
+
В корзину
| ||
|
Быстрый просмотр
|
"RAM block" – система универсальных металлических корпусов – сварных и сборных, а также стоек управления. Во внутреннем пространстве шкафов размещается оборудование для систем автоматизации, мониторинга, управления, релейной защиты. Шкафы надежно предохраняют размещенные внутри устройства от внешних воздействий. Корпуса изготовлены из прочной стали толщиной 1,2 – 1,5 мм. Это позволяет размещать внутри тяжелое оборудование и обеспечивает степень ударопрочности IK 10. Двери выполняются из металла толщиной 1,5 – 2 мм. На внутреннюю сторону двери наносится покрытие из вспененного полиуретана, который повышает качество герметизации. Загиб кромки корпуса предотвращает попадание во внутреннее пространство шкафа влаги и мусора, а производственные отверстия имеют специальные заглушки, благодаря чему достигается степень пыле- и влагозащиты корпуса – IP 65/IP 66. Трехступенчатая автоматизированная система окрашивания обеспечивает корпусам прочное покрытие, устойчивое к сколам и царапинам. Аксессуары позволяют создавать на основе базовых комплектующих сложные индивидуальные решения. Для организации секционирования применяются различные аксессуары, входящие в состав системы - например, горизонтальные разделители. Если разделители монтируются не на всю глубину, используются дополнительные вертикальные стойки. Разделитель применяется со шкафами глубиной 745 мм и шириной 600 мм.
Характеристики
|
4 967 ₽/шт
-
+
В корзину
| ||
Узнайте первыми!
Узнавайте о скидках и акциях первым
Новости
Все новости
8 сентября 2024
Новые конструкции кабеля ЕВРОКАБЕЛЬ 1
24 июня 2022
Скидка за возврат барабанов типа 10 и 12
3 февраля 2020
Новый зажим DIN 741


























































.png)


































































.png)
.png)
.png)
.png)
.png)
.png)
.png)
.png)
.png)
.png)
.png)





























.png)











